无尘室草莓视频APP下载安装18 – 广州草莓视频污免费净化草莓视频APP下载安装18有限公司 http://www.woacn.com Thu, 25 Sep 2025 08:15:06 +0000 zh-CN hourly 1 http://wordpress.org/?v=5.0.22 http://www.woacn.com/wp-content/uploads/2017/10/cropped-11100-1-32x32.jpg 无尘室草莓视频APP下载安装18 – 广州草莓视频污免费净化草莓视频APP下载安装18有限公司 http://www.woacn.com 32 32 百级层流罩|百级FFU http://www.woacn.com/4082.html http://www.woacn.com/4082.html#respond Thu, 04 May 2023 08:09:38 +0000 http://www.woacn.com/?p=4082 百级层流罩|百级FFU,广州草莓视频污免费定制作百级层流罩、百级黄色网站草莓、百级FFU、百级洁净工作台、百级层流传递窗、百级层流送风天花等。

百级层流罩设计图
百级层流罩(又叫洁净层流罩)净化层流罩,百级层流罩是一种可提供局部百级洁净度的空气净化单元,是一种垂直单向流的、提供局部洁净百级环境的、无尘无菌净化草莓视频APP下载安装18;可灵活地按置在需要高洁净度的工艺点上方,以符合局部工艺点需要高洁净度的环境要求。洁净层流罩与土建式或装配式百级洁净室相比,具有投资省,上马快,对厂房土建要求低,安装简便,运转费用低等优点。

层流罩制作现场实拍图

 

百级层流罩设计特点:
1、百级层流罩的整体设计思想为采用模块化设计,各单元单独组成,可草莓视频APP下载安装18化进行安装和调试。

2、百级层流罩在草莓视频在线观看免费视频的安装形式与密封方面,液槽密封式高效草莓视频在线观看免费视频的安装结构,可从技术上保证草莓视频在线观看免费视频下游无泄漏的空气污染,易于安装和更换。

3、风机箱采用外转子直联风机,易于安装与检修。在回风口可设置板式中效过滤,同时安装压差计,必要时方便更换。

4、静压箱部分,由于此处为正压结构,对吊顶内的密封要求不是非常高,故可简化对结构的要求。

5、照明采用泪珠式灯具,维修及更换具有通用性。

6、均流及送风面板,采用好进技术的进口高分子均流膜,具有阻力低,气流均匀及高透光性,可方便的进行清洁处理与安装。

吊顶式层流罩
A、可应用于制药、微生物研究和科学实验等场所专用的局部净化草莓视频APP下载安装18,它提供一种垂直单向气流,部分洁净空气在工作区循环,部分排出至附近区域,使工作区产生负压,防止交叉污染,用于保证工作区的高洁净度环境。

B、在草莓视频APP下载安装18中进行粉尘、试剂称量、分装,可以控制粉尘、试剂外溢、上扬,防止粉尘、试剂对人体的吸入危害,还避免粉尘、试剂的交叉污染,保护外界环境及室内人员的安全。洁净层流罩是将空气以一定地风速通过高效草莓视频在线观看免费视频后,形成均流层,使洁净空气呈垂直单向流,从而保证了工作区内达到工艺要求的洁净度。

百级洁净层流罩是在低洁净度环境下,创造局部高洁净度环境的装置,可使局部工作环境达到百级,可独立形成回风系统或与管道系统连接,净化面积灵活,配置低噪音离心风机及减震装置,安装为悬吊或支架支撑形式,箱体采用优质304不锈钢,结构坚固,电器系统安全可靠,百级洁净层流罩广泛应用于电子、医药、科技、生物工程等领域,是在低净化区域中达到高净化级别要求的理想草莓视频APP下载安装18。

百级层流罩应用于精密电子装置操作间及制药车间安全洗烘灌封流水线、抗生素瓶洗烘灌封流水线,口服液瓶洗烘灌封流水线,大输液生产线上的洁净送风处理等环境广泛使用。

移动式层流罩

百级层流罩工作原理:
百级层流罩采用垂直单向流的气流形式,送风先要通过初效草莓视频在线观看免费视频进行预过滤,将气流中的大颗粒粉尘粒子处理掉。经过预处理后的空气,再经过高效草莓视频在线观看免费视频进行二次过滤,以起到充分保护高效草莓视频在线观看免费视频的作用。在离心风机提供的压力下,通过高效草莓视频在线观看免费视频,使之达到洁净要求。所有气流均经过高效草莓视频在线观看免费视频处理,所以送风,排风均不带残余粉尘,避免了二次污染。由于在工作区域形成稳定的单向流,起到保护外部环境的作用。

百级层流罩安装详图

百级层流罩结构说明:
百级层流罩由304机箱、高效草莓视频在线观看免费视频、可变风量风机组、风速和压差检测仪、照明组件等几大部件组成。机箱采用镜面无指纹304不锈钢制作,钣金一体折弯制作成型,美观洁净,易于清洁消毒。

洁净层流罩采用了可调风量的风机系统,通过调节风机的工况,可使洁净工作区中的平均风速保持在额定的范围内(0.45m/s),采用不锈钢风速仪检测风速,并反回由控制器将风机风速恒定在设定值。

洁净层流罩气流流形为垂直流,空气自上而下流动,配有高效阻力检测压差表,实时检测高效阻力。
洁净层流罩有吊装式和支架安装式。送风面有孔板送风和均流膜送风两种方式。

洁净层流罩可以单个使用,也可多个连接组成带状洁净区域。层流罩是将空气以一定地风速通过高效草莓视频在线观看免费视频后,形成均流层,使洁净空气呈垂直单向流,从而保证了工作区内达到工艺要求的洁净度。

推荐阅读:百级黄色网站草莓  百级FFU  百级洁净工作台  百级层流送风天花  百级层流传递窗

]]>
http://www.woacn.com/4082.html/feed 0
可移动防爆洁净采样车|可移动防爆取样车 http://www.woacn.com/4017.html http://www.woacn.com/4017.html#respond Fri, 24 Mar 2023 02:32:20 +0000 http://www.woacn.com/?p=4017 可移动防爆洁净采样车又称为可移动防爆取样车及百级层流取样车。
防爆洁净采样车厂家制作要求:防爆洁净采样车需要什么材质,数量分别,这个整机能不能进到安装位置?
比如在甲类仓库取样使用,最好304表面抛光或者做好防腐蚀措施,目前需求是1台,使用位置通畅,可以自由移动的。
需要了解防爆洁净采样车外尺寸和内尺寸,URS,不符合需求的地方;把草莓视频污免费的URS条款参数改成符合您家产品的参数;

可移动防爆洁净取样车产品制作现场实拍图一、防爆洁净采样车用户需求的URS文件:
1、总括了用户对可移动取样车的需求,描述了用户对可移动取样车功能的期望,主要包括相关法规符合度和用户的具体需求。
2.防爆洁净采样车范围
该文件适用于仓储部原辅料到货后的取样,可移动取样车的用户需求说明。
3.职责
仓储部:负责URS的起草、审核。
工程部:负责URS的审核。
QA:负责审核URS中涉及的质量控制和规定等相关内容。
质量总监:负责审核和批准URS。

可移动防爆洁净取样车产品制作现场实拍图二、可移动防爆洁净层流采样车用途:层流采样车广泛适用于医药、制剂、电子、精密仪器、仪表、食品等行业的特殊场合的原辅物料的采样。我司层流采样车/无菌取样车特点:我司生产的采样车具有结构简单,外形美观,移动灵活,经济实惠,使用方便等优点,是贯彻GMP第二十六条医药行业采样的必备草莓视频APP下载安装18。同时使用的电动元件符合GB1497—85(电动安全标准);符合GB-191(包装标准)的规定。该草莓视频APP下载安装18洁净度级别达到百级,可方便地进行药物制剂(无菌制剂除外)原辅材料的取样。层流采样车电器控制面板为电脑轻触点控制,风机为无级调速,风量任意调节,洁净取样车配置带紫外线灭菌灯,其他规格尺寸可根据客户要求定做或者两端加装软帘。

可移动防爆洁净取样车产品内结构实拍图三、可移动防爆洁净采样车性能要求:
洁净度:工作区内>0.5um粒径的尘埃应<3500颗/升;

菌落数:<0.5个/皿.时(900mm培养平皿);

平均风速:0.3-0.45m/s,平均风速:0.2-0.35m/s,风速同配风机数量有关系,这个是达到10000级洁净度标准。

噪音:<65dB(A)≦68dB(A)防爆风机本身噪音大;

防爆风机功率:250W/台,两台风机共计500W;

振动半峰值:0.5um(XYZ方向);

照度:>300LX

电压:220V

机器尺寸:长1600*宽1500*净高2200mm

层流取样车四、防爆洁净取样车(可移动)规格型号及及要求:
ZJ-CSYDZ-1600:产品规格(mm):宽*深*高;

外形尺寸: 1600*1700*2700

工作区尺寸:1500*1600*2200

详见URS

层流取样车五、可移动防爆洁净采样车工程要求
防爆洁净采样车具体要求;
1、从室内空气经过初效草莓视频在线观看免费视频,从高效空气草莓视频在线观看免费视频出风,配无隔板高效草莓视频在线观看免费视频过滤效率为:99.99@0.3μm和G4级初效草莓视频在线观看免费视频,确保净化级别,静态100级美联邦209E标准;
2、产品结构由不锈钢板组成

3、电器材料为防爆材质,可以符合甲类库取样

4、配可调地脚及万向轮,搬动移位 轻巧 方便 ,定位放置稳固安全?

5、工作区两侧为不锈钢挡板,前后为条形防静电防尘垂帘,达到理想防尘效果

6、配一台大风量低噪声进口风机0.165KW,确保风速大于0.45m/s

7、配压差表,明确指示高效草莓视频在线观看免费视频两侧的压差,并及时提醒您更换高效草莓视频在线观看免费视频

8、可调速风机设计,调速性能稳定,在高效草莓视频在线观看免费视频终阻力的状态下仍能保证风量不变

9、取样车底部无需挡板,方便油桶车进出

10、系统故障保护功能

11、提供取样车的说明书,便于日后维护保养

12、提供取样车电气原理图便于日后检修时故障排查

13、风机口必须有防止雨水漏进的设施

层流采样车广泛适用于医药、制剂、电子、精密仪器、仪表、食品等行业的特殊场合的原辅物料的采样。六、洁净层流采样车使用方法:
洁净采样车移至需要采样的地方,固定采样车(刹车);接通电源,打开电源开关,打开风机开关;

风机开始工作,将电压调至适当(一般为220V),待洁净采样车运转15分钟后,放入采样桶;

采样结束后,取走采样桶,关掉风机及电源,拔掉电源线,将采样车移到原来的位置。

层流采样车使用环境要求:

正常工作条件:温度:5℃~40℃

相对湿度:≤80%

大气压力:86~106KPa

外观:采样车箱体为不锈钢材质或钢板箱体,装饰帘子光滑、垂直,无损伤现象。

脚轮:灵活可靠。

照明:平均光照明度不得小于300LX。
净化级别:万级、十万级。

平均风速:0.4±20%(可调)

噪音:不大于65db(A)
振动:在风速达标范围内,采样车机架X、Y、Z三个方向振幅小于或等于3μm。

层流采样车广泛适用于医药、制剂、电子、精密仪器、仪表、食品等行业的特殊场合的原辅物料的采样。

洁净采样车安装确认与外观要求:
油漆表面应光滑平整,镀层无起壳、脱落现象,装饰帘子应光滑、垂直、无损伤现象。检验方法:目测。检查开箱验收是否符合要求,并应建立完整的草莓视频APP下载安装18档案。

检查是否已起草该草莓视频APP下载安装18使用SOP,并对使用人员进行了相应的培训。洁净采样车运行确认:洁净采样车脚轮:灵活可靠。检验方法:目测,同时用手试转。洁净采样车照度:各点照度不得小于300Lx。检验方法:由照度计测试,测定离地面60cm处照度,共测三点,每点测三次。

洁净采样车净化效率洁净采样车尘埃粒子数:大于5.0μm的粒子数小于20000个/m3,大于0.5μm的粒子数小于3500000个/m3。

检验方法:调节风速至低、中、高档,分别用尘埃粒子计数器测试,离地面80cm-100cm处测定,每档测三点,每点测量三次。

沉降菌:沉降菌≤10个,共测三点,每点测量三次。压差:车内与外面压差大于10Pa。检验方法:用微压差计测量压差,共测三点,每点测量三次。

注意:根据防爆洁净取样车使用情况要定期用风速仪测量工作区风速,如发现不符合有关技术要求,可调整风机风量,必要时更换高效或初效空气草莓视频在线观看免费视频。

]]>
http://www.woacn.com/4017.html/feed 0
层流罩 http://www.woacn.com/3862.html http://www.woacn.com/3862.html#respond Thu, 08 Sep 2022 08:14:06 +0000 http://www.woacn.com/?p=3862 层流罩目前广泛用于电子、生物、医药、食品、精密仪器等行业的无尘无菌操作环境,提供局部高洁净度工作环境。洁净层流罩是一种可提供局部洁净环境的空气净化单元,可灵活地安装在需要高洁净度的工艺点上方,洁净层流罩可以单个使用,也可多个组合成带状洁净区域。

层流罩目前广泛用于电子、生物、医药、食品、精密仪器等行业的无尘无菌操作环境,提供局部高洁净度工作环境。洁净层流罩它主要由箱体、风机、初效空气草莓视频在线观看免费视频、高效草莓视频在线观看免费视频、阻尼层、灯具等组成,外壳喷塑。洁净层流罩产品既可悬挂,又可地面支撑,结构紧凑,使用方便。

烤漆吊顶式层流罩层流罩材质采用进口环保覆铝锌板,永不生锈,耐腐蚀,轻巧坚固,箱体采用黄金分割比例点设计,层流罩美观大方,超薄机身厚度仅为20cm,加上高效草莓视频在线观看免费视频总厚度不超过29cm;重量仅为24kg,节约空间,方便施工安装和日常维护,层流罩风机采用意大利进口防静电多翼式涡轮节能风机,超低噪音,风压扩散均匀,出风面风速均匀稳定,功耗低运行成本低,工作寿命长达6万小时以上,风机控制采用三档调速,电路均采用电器开关控制,控制安全平稳;并预设集中控制功能。

弹性、多元化配置除标准机型外,层流罩可根据客户需求,制作不同规格的非标产品。如:滤网种类、箱体材质等变更。人性化设计机组附装不锈钢把手,使搬运及安装更为方便快捷;

不锈钢层流罩层流罩结构及特点:
1、层流罩灵活地吊装于需要高洁净度的工艺点上方,以满足局部高洁净度的要求;
2、层流罩箱体可由壁板、喷塑冷轧钢板或全不锈钢制成;
3、层流罩有风机内装和风机外接两种,安装方式有悬挂式和落地支架式两种;
4、层流罩可单独使用,也可多个并联组成洁净层流带;
5、层流罩投资省、见效快、安装简便、运行费用低;
6、洁净度:工作区内≥0.5m粒径的尘埃≤3.5颗/升(FS209E100级);
7、噪声:≤64 Db(A);
8、平均风速:0.3一0.55m/s;
9、层流罩与洁净室相比,具有投资省,见效快,对厂房土建要求低,安装方便,省电等优点。

不锈钢移动式层流罩层流罩保养注意事项:
首先必须对层流罩定期更换高效草莓视频在线观看免费视频,避免污染细菌生长。
如有发现层流罩工作出现异常,请厂家注意,马上切断电源,并且通知有关人员立即进行维修处理;以免无意中启动运转,造成人身伤害。
生产车间使用温度不得超过50℃,且严禁室内使用明火。
最后需要定期对层流罩电气线路检查,如有故障可参照电气原理图进行维修或者马上联系厂家进行上门维修。

层流罩参数

层流罩可非标订做!

了解更多洁净产品:百级黄色网站草莓 洁净工作台 FFU 风淋室

]]>
http://www.woacn.com/3862.html/feed 0
洁净采样车 http://www.woacn.com/3826.html http://www.woacn.com/3826.html#respond Tue, 19 Apr 2022 03:46:55 +0000 http://www.woacn.com/?p=3826 洁净采样车又叫取样车或者超净采样车,层流采样车;级别:百级采样车,万级洁净采样车;洁净采样车主要应用于药物制剂和无菌制剂除的原辅材料的采样,洁净采样车是一种垂直流局部空气净化装置,自从室内空气经过初效空气草莓视频在线观看免费视频过滤,从高效空气草莓视频在线观看免费视频出风的形式达到高洁净度的工作环境。

洁净采样车又叫取样车或者超净采样车洁净采样车用途:
洁净采样车广泛适用于医药、制剂、电子、精密仪器、仪表、食品等行业的特殊场合的原辅物料的采样。

洁净采样车特点:
洁净采样车具有结构简单,外形美观,移动灵活,经济实惠,使用方便等优点,是贯彻GMP第二十六条医药行业采样的必备草莓视频APP下载安装18。同时使用(电动安全标准);(包装标准)的规定。该草莓视频APP下载安装18洁净度级别达到百级,可方便地进行药物制剂(无菌制剂除外)原辅材料的取样。

洁净采样车电器控制面板为电脑轻触点控制,风机为无级调速,风量任意调节,洁净取样车配置带紫外线灭菌灯,其他规格尺寸可根据客户要求定做或者两端加装软帘。

洁净采样车使用方法:
洁净采样车移至需要采样的地方,固定采样车(刹车);接通电源,打开电源开关,打开风机开关;

风机开始工作,将电压调至适当(一般为220V),待洁净采样车运转15分钟后,放入采样桶;

采样结束后,取走采样桶,关掉风机及电源,拔掉电源线,将采样车移到原来的位置。

洁净采样车使用环境要求:

正常工作条件:温度:5℃~40℃

相对湿度:≤80%

大气压力:86~106KPa

外观:采样车箱体为不锈钢材质或钢板箱体,装饰帘子光滑、垂直,无损伤现象。

脚 轮:灵活可靠。

照 明:平均光照明度不得小于300LX。

洁净采样车净化级别:百级、万级。

平均风速:0.4±20%(可调)

噪 音:不大于65db(A)

振 动:在风速达标范围内,采样车机架X、Y、Z三个方向振幅小于或等于3μm。

冷轧钢板烤漆采样车洁净采样车一般配置:
1、配铝框无隔板高效草莓视频在线观看免费视频过滤效率为:99.99@0.3μm和G4级初效草莓视频在线观看免费视频,确保净化级别,静态100级标准;

2、工作区两侧为不锈钢挡板,前后为条形防静电防尘垂帘,达到理想防尘效果;

3、配大风量低噪声风机确保风速大于0.45m/s;

4、配进口品牌压差表,明确指示高效草莓视频在线观看免费视频两侧的压差,并及时提醒您更换高效草莓视频在线观看免费视频;

5、可调速风机设计,调速性能稳定,在高效草莓视频在线观看免费视频终阻力的状态下仍能保证风量不变;

6、配可调地脚及万向轮,搬动移位轻巧方便,定位放置稳固安全;

7、不锈钢内底孔板,可轻松放置和取出。

洁净采样车技术参数:

洁净采样车技术参数洁净采样车安装确认:洁净采样车外观:油漆表面应光滑平整,镀层无起壳、脱落现象,装饰帘子应光滑、垂直、无损伤现象。检验方法:目测。检查开箱验收是否符合要求,并应建立完整的草莓视频APP下载安装18档案。

洁净采样车运行确认:洁净采样车脚轮:灵活可靠。

洁净采样车检验方法:目测,同时用手试转。

洁净采样车照度:各点照度不得小于300Lx。

洁净采样车检验方法:由照度计测试,测定离地面60cm处照度,共测三点,每点测三次。

洁净采样车净化效率洁净采样车尘埃粒子数:大于5.0μm的粒子数小于20000个/m3,大于0.5μm的粒子数小于3500000个/m3。

洁净采样车检验方法:调节风速至低、中、高档,分别用尘埃粒子计数器测试,离地面80cm-100cm处测定,每档测三点,每点测量三次。

洁净采样车沉降菌:沉降菌≤10个,共测三点,每点测量三次。

洁净采样车压差:车内与外面压差大于10Pa。

洁净采样车检验方法:用微压差计测量压差,共测三点,每点测量三次。

注意:根据采样车使用情况要定期用风速仪测量工作区风速,如发现不符合有关技术要求,可调整风机风量,必要时更换高效或初效空气草莓视频在线观看免费视频。

洁净采样车尺寸可根据客尸的要求订做!

 

]]>
http://www.woacn.com/3826.html/feed 0
净化棚 http://www.woacn.com/3300.html http://www.woacn.com/3300.html#respond Wed, 27 Jan 2021 10:30:11 +0000 http://www.woacn.com/?p=3300 净化棚又称为(简易无尘室)(CLEAN BOOTH、无尘棚、洁净工作棚、黄色网站草莓),净化棚是为最快速方便建立的一座简易洁净室,黄色网站草莓具备多种洁净等级及空间搭配可以根据使用需求设计制作,因此其简便运用弹性大安装容易且施工期短以及可移性为其主要特点。
净化棚采用工业铝材(或不锈钢方通、铁方通喷塑)作为框架,主要由风机过滤机组(FFU)送风,初效空气草莓视频在线观看免费视频,高效空气草莓视频在线观看免费视频过滤,四周悬挂防静电垂帘(或钢化玻璃),其内部净化级别可达到100-10000级。适用于操作区内局部净化级别要求高的区域。

净化棚又称为(简易无尘室)(CLEAN BOOTH、无尘棚、洁净工作棚、黄色网站草莓)净化棚概述:
净化棚(CLEAN BOOTH)也叫黄色网站草莓,是为最快速方便建立的一座简易洁净室,净化棚具备多种洁净等级及空间搭配可以根据使用需求设计制作,因此其简便运用弹性大安装容易且施工期短以及可移性为其主要特点,黄色网站草莓同时可针对在一般等级的洁净室中局部地区需要高洁净度的地方做局部增设以降低成本。
净化棚是一种可提供局部高洁净环境的空气净化草莓视频APP下载安装18。净化棚主要由箱体、风机、初效空气草莓视频在线观看免费视频、阻尼层、灯具等组成,外壳喷塑。该产品既可悬挂,又可地面支撑,结构紧凑,使用方便。可以单个使用,也可多个连接组成带状洁净区域。

净化棚具备多种洁净等级及空间搭配可以根据使用需求设计制作净化棚特点:
1、组装式结构设计,安装方便,交货周期短。
2、移动方便(可选用万向轮)。
3、模块化结构,容易提高净化级别,扩展性强,且重复利用价值高。
4、净化棚相对超净工作台内部有效空间大;相对传统无尘室,具有成本低、施工快、且对楼层高度要求低的优势。
5、整体采用冷扎钢板喷塑、采用全不锈钢和铝合金等几种材料,重量轻、抗腐蚀、防锈、美观大方。
6.采用可调风量系统,保证工作区风速处于理想状态。
7.适用超净生产线,多人使用方便。

净化棚产品配制 框架:以工业铝材(或不锈钢方通、铁方通喷塑)净化棚产品配制:
1、框架:以工业铝材(或不锈钢方通、铁方通喷塑)作为框架稳固、美观、不生锈、不产尘;
2、防静电垂帘:四周围用防静电垂帘(或钢化玻璃),防静电效果好、透明度高、网格清晰、柔韧度好、不变形、不易老化;
3、风机滤网机组FFU:,采用离心风机,具有长寿命、低噪声、免维护、震动小、可无级变速等特性,风机质量可靠,工作寿命长,加上独特的风道设计,大大提高了风机的效率、降低了噪声!内部净化级别可达100-100K级;特别适用于车间内局部净化级别要求高的区域,如流水线作业区域。
4、内部采用净化室专用净化灯,不产尘;
风机从FFU顶部将空气吸入,经初效草莓视频在线观看免费视频,高效草莓视频在线观看免费视频过滤,过滤后的洁净空气在整个出风面以0.45m/s±20%的风速匀速送出到黄色网站草莓内。形成均流层,使洁净空气气流呈垂直单向流,从而保证了工作区内所要求的洁净度。

净化棚是一种可提供局部高洁净环境的空气净化草莓视频APP下载安装18。净化棚气流的重要性
净化棚的洁净度往往受到气流的影响,换言之,即人、机器隔间、建筑结构等所产生的尘埃之移动、扩散受到气流的支配。洁净室系利用HEPA、ULPA过滤空气,其尘埃的收集率达99.97~99.99995%之多,因此经过此草莓视频在线观看免费视频过滤的空气可说十分干净。然而洁净室内除了人以外,尚有机器等之发尘源,这些发生的尘埃一旦扩散,即无法保持洁净空间,因此必须利用气流将发生的尘埃迅速排出室外。

净化棚材料细节净化棚风速的控制
净化棚内的气流是左右洁净室性能的重要因素,一般洁净室的气流速度是选0.25~0.5m/s之间,此气流速度属微风区域,易受人、机器等的动作而干扰趋于混乱、虽提高风速可抑制此一扰乱之影响而保持洁净度、但因风速的提高,将影响运转成本的增加,所以应在满足要求的洁净度水准之时,能以最适当的风速供应,以达到适当的风速供应以达到经济性效果。

另一方面欲达到洁净室洁净度之稳定效果,均一气流之保持亦为一重要因素,均一气流若无法保持,表示风速有异,特别是在壁面,气流会延着壁面发生涡流作用,此时要实现高洁净度事实上很困难。

垂直层流式方向要保持均一气流必须:(a)吹出面的风速不可有速度上的差异;(b)地板回风板吸入面之风速不可有速度上的差异。速度过低或过高(0.2m/s,0.7m/s)均有涡流之现象发生,而0.5m/s之速度,气流则较均一,目前一般洁净室,其风速均取在0.25~0.5m/s之间。

净化棚专用FFU影响净化棚因素:
影响洁净工作棚的气流因素很多,如制程草莓视频APP下载安装18、人员、洁净室组装材、照明器具等,同时对于生产草莓视频APP下载安装18上方气流的分流点,亦应列入考虑因素。
一般操作台或生产草莓视频APP下载安装18等表面的气流分流点,应设于洁净室空间与隔墙板间距2/3之处,如此可使作业人员工作时,气流可从制程区内部流向作业区,而将微尘带走;若分流点配置在制程区前方,将成为不当的气流分流,此时大部份的气流将流至制程区之后,作业员操作所引起的尘埃将被带到草莓视频APP下载安装18后面,工作台因而将受到污染,良率也势必降低。

洁净室内的工作桌等障碍物,在相接处均会有涡流现象发生,相对地在其附近之洁净度将会较差,在工作桌面钻上回风孔,将使涡流现象减少最低;组装材料之选择是否恰当、草莓视频APP下载安装18布局是否完善,亦为气流是否成为涡流现象之重要因素。

风机从FFU顶部将空气吸入,经初效草莓视频在线观看免费视频,高效草莓视频在线观看免费视频过滤,过滤后的洁净空气在整个出风面以0.45m/s±20%的风速匀速送出到黄色网站草莓内。形成均流层,使洁净空气气流呈垂直单向流,从而保证了工作区内所要求的洁净度。

净化棚是能快速组建的简易洁净室,其具有安装快速、施工周期短、价格低廉、移动方便等特点,把主要生产工序控制在较小的环境内也是洁净室设计的选择。

净化棚方案图净化棚优点:
1、可单独使用,也可组合使用。

2、与土建式或装配式百级洁净室相 比,投资少,见效快,安装简便,运行费用低。

3、模块化结构,提高洁净度等级容易,扩展性强,且重复利用价值高

4、移动方便(可安装万向轮)

污染源知识发尘量
净化棚内的发尘量,来自草莓视频APP下载安装18的可考虑通过局部排风排除,不流入室内;产品,材料等在运送过程中的发尘与人体发尘量相比,一般极小,可忽略;由于金属半壁(彩钢夹心板)的应用来自建筑表面的发尘也很少,一般占10%以下,发尘主要来自人,占90%左右。在人的发尘量上,由于服装材料和样式的改进,发尘绝对量也不断减少。

A、材质:棉质发尘量最大,以下依次为棉、的确良、去静电纯涤纶、尼龙。

B、样式:大挂式发尘量最大,上下分装型次之,全罩型最少;

C、活动:动作时的发尘量一般达到静止时间3-7倍;

D、清洗:用溶剂洗涤的发尘量降至用一般水清洗的五分之一。室内维护结构表面发尘量,以地面为准,大约相应8平方米地面时的表面发尘量与一个静止的人的发尘量相当。

发菌量
洁净室发菌量主要来自工作人员产生的污染:
1)皮肤:人类通常每四天完成一次皮肤的完全脱换,人类每分钟脱落约1000片皮肤(平均大小为30*60*3微米)

2)头发:人类的头发(直径约为50~100微米)一直在脱落。

3)口水:包括钠、酶、盐、钾、氯化物及食品微粒。

4)日常衣物:微粒、纤维、硅土、纤维素、各种化学品和细菌。

5)人类静止和坐立每分钟将产生10000个大于0.3微米的微粒。

6)人类在头部和躯干做动作时每分钟将产生1000000个大于0.3微米的微粒。

7)人类以0.9m/s的速度行走时每分钟将产生5000000个大于0.3微米的微粒。

净化棚FFU高效空气草莓视频在线观看免费视频分析国外净化棚试验资料可以认为:
1)洁净室内当工作人员穿无菌服时:静止时的发菌量一般为10-300个/min.人躯体一般活动时的发菌量为150-1000个/min.人 快步行走时的发菌量为900-2500个/min.人;

2)咳嗽一次一般为70~700个/ min.人喷嚏一次一般为 4000~62000个/min.人;

3)穿平常衣服时发菌量3300~62000个/min.人;

4)无口罩发菌量:有口罩发菌量1:7~1:14;

5)发菌量:发尘量1:500~1:1000

6)手术中人员发菌量878个/min.人所以,可知洁净室内无菌衣人员的静态发菌量一般不超过300个/min.人,动态发菌量一般不超过1000个/min/人,以此作为计算依据是可行的。

推荐阅读:百级黄色网站草莓,千级黄色网站草莓,万级黄色网站草莓

]]>
http://www.woacn.com/3300.html/feed 0
流水线黄色网站草莓|组装式净化棚 http://www.woacn.com/3280.html http://www.woacn.com/3280.html#respond Thu, 21 Jan 2021 09:21:21 +0000 http://www.woacn.com/?p=3280 流水线黄色网站草莓又称为生产线洁净室或者组装式净化棚,水线生产无尘棚,洁净组装流水线生产黄色网站草莓,净化风淋流水线,适用于在普通流水线作业过程中,局部工位有较高洁净度要求的;

流水线黄色网站草莓又称为生产线洁净室或者组装式黄色网站草莓,水线生产无尘棚,洁净组装流水线生产黄色网站草莓,净化风淋流水线如手机组装、摄像头组装、贴膜等工艺环节;
1、兼容流水线自动传送带;
2、提供三种净化模式:单侧工位净化、区段工序净化、产品输送空间净化;
3、适应性强,根据流水线量身定制,多功能化设计,可迁移至任意工位使用。

流水线黄色网站草莓流水线黄色网站草莓配置:
1、铝材为框架
2、FFU送风单元,高效草莓视频在线观看免费视频
3、防静电网格围帘为围栏
4、防静电垂帘门实现生产车间达到理想的净化空间。

流水线黄色网站草莓洁净组装流水线生产黄色网站草莓|洁净组装流水线功能介绍:
支撑工件通过传动机构完成相应的回转、直线曲线、角度分度等运动,并配有夹紧装置。

主要功能:用于生产线上物件的组装、生产等工作。

流水线黄色网站草莓洁净组装流水线设计流程图及性能要求:
1、形体尺寸,应能容纳加工零件的最大轮廓;
2、静刚度要高;

3、动刚度要好;

4、温度分布均匀;

5、受力合理;

6、耐磨性要好。

黄色网站草莓现场安装实拍图洁净组装流水线生产黄色网站草莓|洁净组装流水线特点:

标准的材料(精益管、接头及附件)设计组装专用工位器具及生产系统。

组建简单,应用灵活,不受部件外形和工位空间、场地大小的局限;

改造简便,可随时随需扩展结构功能。

最大程度发挥现场员工的创造性,持续不断地改善现场的精益生产管理。

材料可重复利用,节约生产成本,支持环保。

精益管表层为覆塑层,不易损伤零部件表面。

黄色网站草莓内结构细节洁净组装流水线生产黄色网站草莓|净化风淋流水线介绍:
净化风淋流水线是防止外部空气污染,在物品传递过程中实现净化的草莓视频APP下载安装18;能有效的吹除进入净化房或洁净区的货物表面
附着的尘埃。气流由高效离心风机带动,经高效草莓视频在线观看免费视频循环过滤。

黄色网站草莓草莓视频APP下载安装18广泛应用于PCB、IC、LCD、玻璃生产、生物实验室、制药、医院、食品加工业等所有需要空气净化的场所。

推荐阅读:百级黄色网站草莓,千级黄色网站草莓,万级黄色网站草莓

]]>
http://www.woacn.com/3280.html/feed 0
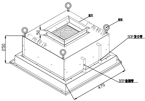
500风量DOP液槽高效送风口 http://www.woacn.com/1474.html http://www.woacn.com/1474.html#respond Thu, 19 Jul 2018 06:40:04 +0000 http://www.woacn.com/?p=1474
500风量DOP液槽高效送风口产品介绍:
500风量DOP液槽高效送风口是高效送风口的一种做法。
具有可更换高效草莓视频在线观看免费视频的已液体密封方式的高效送风口,DOP液槽高效送风口(Pharmagel)广泛应用于医院、生物制药、半导体、液晶制造、精密机械、光学等技术领域。
500风量DOP液槽高效送风口
500风量DOP液槽高效送风口
500风量DOP液槽高效送风口方案设计图:
500风量DOP液槽高效送风口方案设计图
500风量顶送风DOP液槽高效送风口外形尺寸W470*D470*H250mm
500风量双液槽高效草莓视频在线观看免费视频进风面
500风量双液槽高效草莓视频在线观看免费视频尺寸为400*400*100mm
配套手动调节阀尺寸:方形200*200mm
500风量DOP液槽高效送风口技术参数表:
500风量DOP液槽高效送风口技术参数表
500风量DOP液槽高效送风口技术参数表包含500、1000、1500风量。
500风量DOP液槽高效送风口设计特点:
1、箱体表面采用静电喷塑处理,耐腐蚀性强,液槽密封设计进一步增强 了它的独特性。箱体主要采用冷轧钢板已焊接的方式连接,且所有的焊接都经过 特殊的胶密封处理,以防止空气泄漏。散流板以固定螺栓所固定,安装及拆卸较为方便,更换草莓视频在线观看免费视频时,可直接在天花底部进行操作,而无需拆除天花 板系统上的箱体。
2、箱体顶部进风口中装有蝶形风阀,且在箱体底部的侧面用一个旋转的阀门调节装置控制,以调节进入洁净室内的风量。
3、草莓视频在线观看免费视频的框架通过箱体四周的草莓视频在线观看免费视频压件所支撑固定,为方便更换草莓视频在线观看免费视频,所有草莓视频在线观看免费视频压件能自由旋转。
4、并可防止空气通过倒行框架泄漏及箱体刀边滑出草莓视频在线观看免费视频框架胶槽。
500风量DOP液槽高效送风口产品实拍
500风量DOP液槽高效送风口产品实拍

相关产品视频:500风量DOP高效送风口

由于DOP液槽高效送风口主要用于GMP制药厂洁净室高效送风,制作结构复杂,价格昂贵,如果不是药厂可选用普通新型高效送风口。

普通新型高效送风口主要有:

500风量高效送风口

1000风量高效送风口

1500风量高效送风口

2000风量高效送风口

]]>
http://www.woacn.com/1474.html/feed 0
风淋间尺寸|风淋间规格 http://www.woacn.com/1264.html http://www.woacn.com/1264.html#respond Sun, 08 Jul 2018 02:47:46 +0000 http://www.woacn.com/?p=1264 风淋间尺寸|风淋间规格介绍:

包括工作区尺寸和外型尺寸,通常草莓视频污免费用宽W*深D*高Hmm来表示。

“草莓视频污免费”ZJ-AAS-1200系列风淋间尺寸、规格、案例【标准风淋间】:

单人风淋间方案图
单人风淋间方案图【风淋间规格都标在上面了】
ZJ-AAS-1200系列标准风淋间尺寸参数
ZJ-AAS-1200系列标准风淋间尺寸、规格参数
1200-2000-2050风淋间图片
1200-2000-2050风淋间图片

用户参考:此规格风淋间以深度1000mm为单位加长,如W1200*D1000*H2050/2180、W1200*D2000*H2050/2180、W1200*D3000*H2050/2180。。。

产品直达:  3-6人风淋间      2-4人风淋间        单人风淋间


“草莓视频污免费”ZJ-AAS-1300系列风淋间尺寸、规格、案例【标准风淋间】:

双人风淋间设计方案图

双人风淋间设计方案图,无尘车间设计施工风淋间选型使用。

“草莓视频污免费”ZJ-AAS-1300系列风淋间尺寸
“草莓视频污免费”ZJ-AAS-1300系列风淋间尺寸
1300-1500-2180不锈钢风淋室图片
1300-1500-2180不锈钢风淋室图片

用户参考:此规格风淋间以深度1500mm为单位加长,如W1300*D1500*H2050/2180、W1300*D3000*H2050/2180、W1300*D4500*H2050/2180。。。

产品直达:双人风淋间


“草莓视频污免费”系列风淋间尺寸、规格、案例【非标准风淋间】:

1、双开门风淋间一般属定制尺寸,此产品需根据用户现场门洞开口尺寸定制!

2、内尺寸宽度不能超过2000mm,如果超过2000mm宽建议定做快速卷帘门风淋间(产品详情:快速卷帘门风淋间)。

”草莓视频污免费“双开门风淋间方案图
”草莓视频污免费“双开门风淋间方案图
双开门风淋间图片外观
双开门风淋间图片外观

产品直达:双开门风淋间


草莓视频污免费全力以赴为您服务:

不管什么样风淋间尺寸、风淋间规格,草莓视频污免费都可以为您提供免费现场测量、报价、给您提供合理的建议,为您解决风淋间方面的一切问题!

查阅更多风淋间,可点击右侧链接跳转到产品分类>>风淋间。

]]>
http://www.woacn.com/1264.html/feed 0
货物风淋间|物料风淋间 http://www.woacn.com/1337.html http://www.woacn.com/1337.html#respond Fri, 29 Jun 2018 01:40:50 +0000 http://www.woacn.com/?p=1337 货物风淋间|物料风淋间介绍:

货物或物料进出洁净室的通道,作用是通过风淋间将货物或物料表面上携带的灰尘吹除干净,避免造成洁净室的二次污染。

货物风淋间|物料风淋间分类:

双开门、快速卷帘门、外置自动平移门三种类型的货物风淋间

双开门货物风淋间
没有通道地板的双开门货物风淋间,方便推车进出。

产品视频:双开门货物风淋间

手拉双开门货物风淋间内尺寸宽度不能超过2000mm,

如果超过2000mm宽建议定做快速卷帘门风淋间(产品详情:快速卷帘门风淋间)。


快速卷帘门物料风淋间
快速卷帘门物料风淋间同时可以实现手动、自动切换功能,方便货物进出洁净室。

快速卷帘门物料风淋间属定制尺寸,此产品需根据用户现场门洞开口及进出推车尺寸定制!


外置自动平移门货物风淋间
外置自动平移门货物风淋间同时可以实现手动、自动感应控制。

外置自动平移门货物风淋间属定制尺寸,此产品需根据用户现场门洞开口及进出推车尺寸定制!


风淋间制作材料选择:

A、全冷轧钢板烤漆;

B、外箱体冷轧钢板烤漆内胆砂光不锈钢;

C、全不锈钢;(注:根据不同使用环境不锈钢可选201或304)。

物料风淋间规格型号
物料风淋间规格型号【常规产品】

货物风淋间|物料风淋间应用场所:

应用场所

风淋间购买流程:

购买流程

“草莓视频污免费“风淋间现场安装要求:

1、确定好安装位置;

2、将380V三相五线电源安装到位,且电源功率大于草莓视频APP下载安装18功率(如果受条件限制,必须要用到220V电压,下单时请注明!);

3、合适大小的风淋室安装空间;

4、放置风淋间的地面已达基本水平,地面水平度公差为±3mm。

查阅更多风淋间,可点击右侧链接跳转到产品分类>>风淋间。

您可能还需要以下产品:

自动平移门风淋间   双开门风淋间   3-6人风淋间      2-4人风淋间       双人风淋间     单人风淋间

]]>
http://www.woacn.com/1337.html/feed 0
快速卷帘门风淋间 http://www.woacn.com/1301.html http://www.woacn.com/1301.html#respond Tue, 26 Jun 2018 06:13:05 +0000 http://www.woacn.com/?p=1301 快速卷帘门风淋间介绍:

快速卷帘门风淋间主要是用于人或货物风淋、除尘、净化过滤。安装于无尘车间、洁净室货物进出口处。

展示一组快速卷帘门风淋间现场安装时的图片。

快速卷帘门风淋间图片
快速卷帘门风淋间图片【汕头客户安装现场实拍】
快速卷帘门风淋间图片【前门打开状态】
快速卷帘门风淋间图片【前门打开状态】
快速卷帘门风淋间图片【前后门关闭状态】
快速卷帘门风淋间图片侧面实拍【前后门关闭状态】
快速卷帘门风淋间图片侧面实拍【前门打开状态】
快速卷帘门风淋间图片侧面实拍【前门打开状态】

“草莓视频污免费”牌快速卷帘门风淋间配置说明:

外形尺寸:W1900*D2000*H2180

风淋区尺寸:W1400*D2000*H1980

尺寸说明:快速卷帘门风淋间属定制产品,此产品需根据用户现场门洞开口尺寸定制!

快速卷帘门风淋间立体图
快速卷帘门风淋间立体图

1、快速卷帘门风淋间整体材质采用优质SUS304砂光不锈钢,钢板厚度均为国标1.2mm,无通道地板,进出门配快速卷帘PVC门(控制方式可选按钮式、感应式、遥控式,其中按钮式和感应式可手动切换。);

2、电子互锁装置;

3、配有隔板高效空气草莓视频在线观看免费视频,高效草莓视频在线观看免费视频尺寸:610*610*120mm*4台,过滤等级为:H13(MPPS),过滤效率:99.99%@0.3um,初效草莓视频在线观看免费视频尺寸:380*770*15mm*4片,过滤效率为:G4级(计重法),确保净化级别;

4、全自动红外感应吹淋,“欧姆龙”红外感应器,正泰中间继电器,单向通道货淋室,从非洁净区进入,关门后红外线感应有人就吹淋,吹淋时双门自动锁闭,吹淋后入门锁闭,由洁净区出去时经过货淋室不吹淋以节省能源;

5、电源3N 、  380V 、 50HZ,LED洁净照明灯2*9W;

6、配先进的高科技集成电路板,液晶显示吹淋时间,时间继电器0~99秒可调,出厂设置10S,红外线自动感应器,感应自动吹淋,触摸式微动开关,并安装人性化智能语音提示系统;

7、配4台大风量货淋室专用风机,配36个不锈钢喷嘴,口径30mm,总功率:4.5KW,确保吹淋效果,风速≥22-25m/s, 左右两侧+顶部吹淋。

快速卷帘门风淋间方案图
快速卷帘门风淋间方案图

“草莓视频污免费”牌快速卷帘门配置:

1、开启方式:一台双面手动控制,另一台进门手动控制,出门自动感应;

2、密封性能:导槽里有毛刷、门帘底部有PVC基布垫。

3、驱动系统:快速卷帘门专用电机SEJ,电机的功率为750W/220V 50Hz,台湾刹车系统。

4、升降速度:800㎜/S速度可调。

5、门帘:刀刮涂层基布(法国希运,厚度900g/㎡),无透明视窗。

6、门帘颜色:深蓝色。

7、门框:304不锈钢板加工处理,(立柱厚度足1.26mm,门罩厚度足0.86mm)。

8、控制电路:海力普变频编程一体机及其他元件组成。

9、限位系统:停电带记忆编码器。

10、保护系统:奥托尼克斯光电开关自动保护。

风淋间制作材料选择(需要报价时请注明):

A、全冷轧钢板烤漆;

B、外箱体冷轧钢板烤漆内胆砂光不锈钢;

C、全不锈钢;(注:根据不同使用环境不锈钢可选201或304)。

快速卷帘门风淋间购买流程:

购买流程

“草莓视频污免费“风淋间现场安装要求:

1、确定好安装位置;

2、将380V三相五线电源安装到位,且电源功率大于草莓视频APP下载安装18功率(如果受条件限制,必须要用到220V电压,下单时请注明!);

3、合适大小的风淋室安装空间;

4、放置风淋间的地面已达基本水平,地面水平度公差为±3mm。

查阅更多风淋间,可点击右侧链接跳转到产品分类>>风淋间。

您可能还需要以下产品:

自动平移门风淋间      3-6人风淋间      2-4人风淋间       双人风淋间     单人风淋间

]]>
http://www.woacn.com/1301.html/feed 0